近日,浙江省投资项目在线审批监管平台发布多个算力项目(建议书审批/可行性研究报告/基本建设备案/初步设计)办理结果公示信息。
中国移动金华公司东阳智算中心建设项目(代码:2503-330783-04-04-529218),位于浙江省金华市东阳市六石街道大兴北街和明凯街交叉口,总投资22807.6万元,用地面积1999.99平方米,新建1座智算中心,占地面积693.6平方米,建筑面积2410.8平方米(其中地下建筑面积300平方米),计划建成200P规模以国产算力为主的智能算力服务能力,包含计算、存储、网络、调度平台等内容,及配套动力、空调、消防等设施。项目拟于2025年7月开工,于2026年7月建成投用。
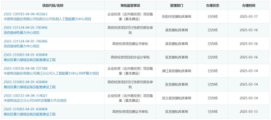
中国电信股份有限公司东阳分公司东阳人工智能算力中心项目(代码:2503-330783-04-04-455663),位于浙江省金华市东阳市,总投资42200万元,拟建设东阳人工智能算力中心,智能算力规模达700PFlops,国产化芯片提供的算力规模占比达70%,算力中心绿电使用率达50%,PUE值低于1.25,建设木雕、建筑、医药等特色行业高质量训练数据集,孵化具有一定行业影响力的人工智能多模态大模型3个及以上。形成算力充沛、数据开放、模型先进、应用创新、生态繁荣的发展格局。实现同城内新型算力中心节点时延1ms,省内新型算力中心节点时延3ms,云服务模式提供的算力比重达70%,PUE值低于1.25。项目拟于2025年7月开工,于2027年12月建成。
中国电信股份有限公司浦江分公司人工智能算力中心300P算力项目(代码:2503-330726-04-04-727388),位于浙江浦江县人民东路29号,总投资9450万元,拟在浦江电信机房采购安装300P算力设备,包括规划设计、集成实施、算力服务、运营运维等内容,给浦江地区提供全面、稳定、可靠、安全的算力资源服务。项目拟于2025年12月开工,于2026年12月建成。
中国电信武义分公司500P边缘算力节点项目(代码:2503-330723-04-04-114021),位于浙江省金华市武义县武阳东路1号,总投资28000万元,拟在武义边缘算力节点采购安装500P算力设备,包括规划设计、集成实施、算力服务、运营运维等内容,给武义地区提供全面、稳定、可靠、安全的算力资源服务。项目拟于2025年3月开工,于 2028年12月建成。
黄岩区算力基础设施及配套建设工程(代码:2503-331003-04-01-438404),位于浙江省台州市黄岩区院桥镇繁荣村,总投资概算约201168万元(黄岩区财政统筹),总用地约13.1037公顷,工程总建筑面积约138595平方米,其中新材料产业园建筑面积133229平方米(包括生产性用房105510平方米、综合服务用房27719平方米),智能算力中心机房5366平方米。项目拟建停车位80个,其中充电桩停车位16个,建设期为4年。
浙西南绿色算力中心项目(代码:2503-330100-04-04-123852),位于丽水市松阳县黄南水电站的南侧原黄南水库营地,估算总投资60132万元(财政统筹),主要建设内容包括绿色算力中心、城市大脑,总用地面积14874平方米,建筑占地面积5327平方米,总建筑面积17582平方米(其中地上建筑面积16682平方米,地下建筑面积901平方米,容积率1.12,建筑密度36%)。新增算力2528标准机架、湖水冷却系统、模块化机房设计、多元算力部署、监控平台升级、物联网采录感知平台、政务外网、视联网提升及设备采购。
杭州市城市防空洞新型边缘算力集群(代码:2503-330100-04-04-123852),位于浙江省杭州市上城区南星街道、彭埠街道,西湖区北山街道、古荡街道;主要建设内容包括算力基础设施、算力设备及产业化改造。算力基础设施集群规划承载智算算力2000P,分三期建设,总投入约7亿元。一期以2个防空洞为试点,算力规模不小于400P,总投入约1.6亿元,计划25年完成,二期、三期在2027年内陆续建成,具体建设根据市场及融资情况酌情启动。项目拟于2025年9月开工,于2027年12月建成。